Un casque VR spécial Stadia ? Google y penserait |
————— 13 Septembre 2019 à 08h01 —— 13433 vues
Un casque VR spécial Stadia ? Google y penserait |
————— 13 Septembre 2019 à 08h01 —— 13433 vues
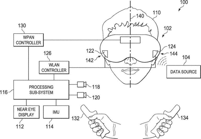
Le service Stadia de Cloud Gaming de Google est déjà connu de tous et pointé du doigt par une partie de la communauté gaming comme étant le diable en personne qui s'attaque à l'avenir du jeu vidéo. Mais au-delà des avis de chacun sur le sujet, est-ce que Google a prévu un simple service ou alors des appareils dédiés comme des manettes seront prévus ? A en croire les récents dépôts de brevet oui, car le monstre de la recherche en ligne a déposé un brevet sur un casque VR qui serait dédié exclusivement au streaming via Stadia.
En regardant de plus près ce qui est avancé par le brevet déposé aux autorités américaines, on s’aperçoit que c'est assez léger et que le casque focalise plus sur sa communication sans-fil intégrée, ce qui veut dire que le casque peut soit être compatible PC et smartphone vu le fonctionnement de Stadia, soit que la firme prépare un potentiel casque autonome comme l'a fait Oculus avec le Quest. Par contre si cela se fait, plusieurs questions restent à voir : quel est le tarif, la disponibilité ou encore la bibliothèque de jeu ? Parce que si nous avons le droit à un énième moyen de faire de la VR, il va devenir compliqué de standardiser le système, on sent que Google veut suivre le pas de Facebook dans le gaming des mondes virtuels alors que certains ne sont pas optimistes sur cette vision du jeu vidéo. (source : RéaliteVituelle.com)

En tout cas ce brevet arrive à faire mouche sur le design
![]() | Un poil avant ?Le VIVE Cosmos est officiel, son prix et lancement aussi | Un peu plus tard ...Autre test pour l'AGESA 1.0.0.3 ABBA, la puissance du psychologique ! | ![]() |